爱译社
中文版
English
日文版
登录    注册
德汉汽车
您当前的位置: 首页 >  德汉汽车

 原文

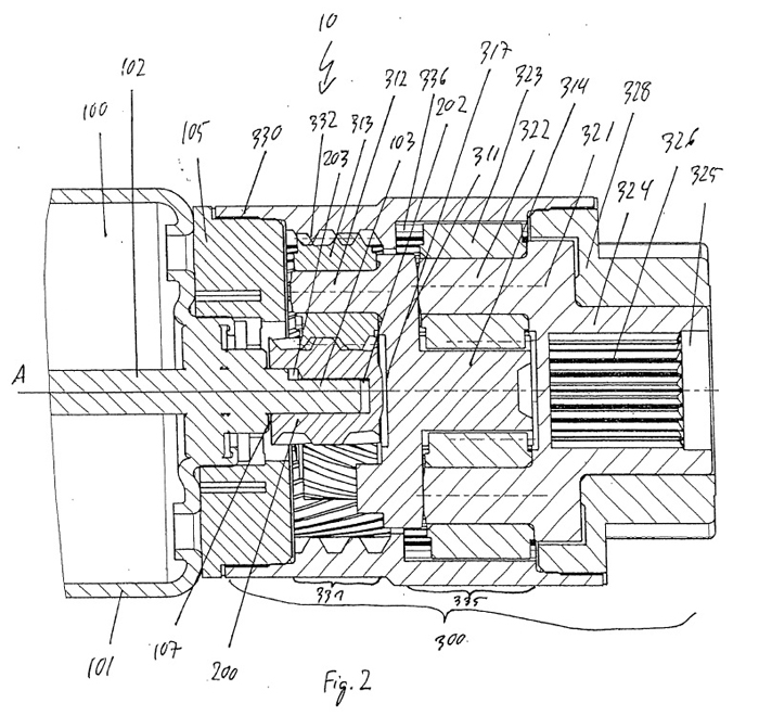
    Bereitgestellt wird eine Angetriebene Klappenanordnung, insbesondere Heckklappenanordnung, für ein Kraftfahrzeug mit einer Klappe und mit einem Klappenantrieb (10) zum Öffnen und/oder Schließen der klappe, wobei der Klappenantrieb (10) einen Motor (100) mit einer Motorwelle (102) und einem Motorritzel (200) und mindestens ein Planetengetriebe mit Sonnenrad, Planetenträger (311, 312) mit auf Lagerbolzen (312, 322) angeordneten Planetengetriebes durch das Motorritzel (200) gebildet wird und über das Planetengetriebe eine Abtriebswelle (314, 324) angetrieben wird, bei der die Abtriebswelle (314, 324) einteilig mit einem Planetenträger (311, 312) samt Lagerbolzen (312, 322) für Planetenwälzkörper (313, 323) ausgebildet ist.
 
译文
    本发明提供了一种动力驱动式翻盖机构,尤其是行李箱盖机构,用于带有翻转盖和开启/关闭所述翻转盖所需翻盖驱动装置(10)的汽车;其中,所述翻盖驱动装置(10)包含一个电动机(100)和至少一个行星齿轮减速器,所述电动机(100)带有一个电动机轴(102)和一个电动机小齿轮(200),所述行星齿轮减速器配有太阳轮、行星齿轮架(311,312)和内齿轮,所述行星齿轮架(311,312)带有布置在轴承销(312,322)上的行星齿轮机构滚动体(313,323);其中,行星齿轮减速器太阳轮由电动机小齿轮(200)构成,并且输出轴(314,324)通过行星齿轮减速器驱动;其中,所述输出轴(314,324)与一个行星齿轮架(311,312)连同用于所述行星齿轮机构滚动体(313,323)的轴承销(312,322)设计为一体。
 

(北京东方爱译科技有限公司)环宇爱译(北京)信息技术有限责任公司  版权所有
咨询热线:010-82895385    客服热线:010-82893875

邮箱:trans@aitrans.cn    trans@aitrans.net   备案号:京ICP备17073974号-1
地址:北京市海淀区上地信息路2号创业园D栋608A